氢能航空准备起飞?为航空零碳未来按下加速键
来源:中国航空新闻网发表时间:2025-10-30 11:31:26浏览量:2798
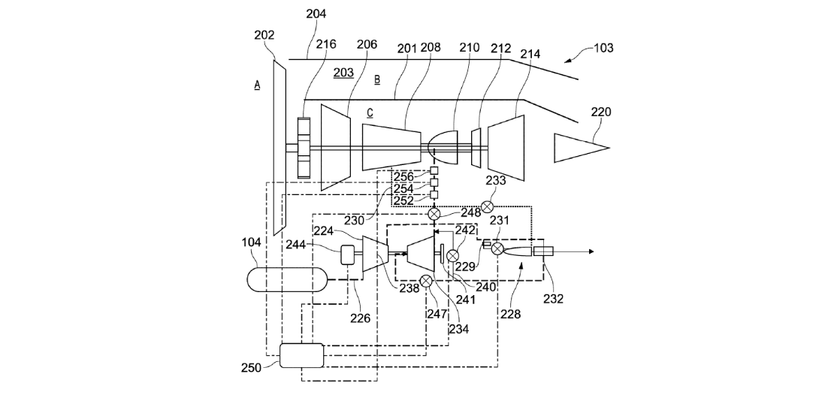
从活塞发动机到涡扇喷气时代,航空推进技术历经百年演进。如今,在全球碳中和目标驱动下,氢能航空正从概念走向现实。罗罗近期为其氢燃料系统申请专利,正是这一趋势的注脚。多家制造商正致力于解决氢动力商业化的关键挑战,包括燃料存储、输送和安全标准等,以期推动航空业实现低碳未来。

氢能航空基本原理:两条技术路径的竞争
氢动力飞机是指以氢气为推进剂的新型航空器,主要通过两种技术路径实现:一是氢燃料电池,通过氢氧化学反应发电驱动电动机;二是氢燃烧技术,直接在改进的燃气涡轮发动机中燃烧氢气产生推力。

氢飞机凭借氢能的零碳排放特性,成为航空业低碳转型的重要方向,但其发展面临液氢储存、安全保障及机场基础设施重建等关键挑战。
其一,电池能量密度仍是关键制约。当前锂离子电池的能量密度远低于航空燃油,导致其在中等以上航程中重量优势尽失。国际清洁交通理事会(ICCT)指出,即便储能技术持续进步,未来二十年内全电动商用飞机仍将主要限于短程通勤市场。此外,充电设施与机队运维也为机场和运营商带来新的成本与运营挑战。

在此背景下,混合动力系统成为当前最可行的过渡方案,能在保持航程与安全性的同时降低油耗与排放。随着电池技术与轻量化材料不断进步,电力推进有望逐步应用于更大机型,但其近期最主要影响仍将集中于重塑区域与城市空中交通体系,推动其向更安静、高效与可持续的方向转型。
全球研发进展:从无人机到大型客机的探索
目前,全球航空巨头正在氢能航空领域积极布局:空客计划在2026年在其A380巨型客机上测试氢动力发动机。
在2025峰会上,空客更新了其技术成熟路线图,确认准备在2035年至2039年投入使用的下一代单通道飞机计划,并展示了由四台2兆瓦电力推进发动机提供动力的氢动力飞机概念。

另外,美国的绿色能源初创企业HyPoint公司与Piasecki飞机集团合作,正在开发用于电动垂直起降飞行器(eVTOL)的氢燃料电池系统,测试表明其能量密度高达每千克1500瓦时,是锂离子电池的4倍。
大型客机的氢能应用:空间与重量的博弈
而对于能否将氢动力应用于更大客机的问题,技术上是可行的,但面临许多挑战。
空客选择A380测试氢动力发动机的原因很直接:A380有空间存放液氢罐和其他设备。这揭示了氢能飞机的一个关键问题——氢燃料的能量密度。虽然氢的质量能量密度高于传统航油,但其体积能量密度低得多,导致需要更大、更重的燃料箱。空客正在探索的解决方案包括改变飞机设计,如采用更大的翼展或更长的机身,但这又会导致机场航站楼和停机区域的重新配置。

氢涡轮动力虽然可能更适合大型飞机,但FAA认为其技术成熟度仍在较低水平,预计到2032-2036年才能进入认证的远期阶段。
未来展望:我们何时能坐上氢动力飞机?
关于何时能真正乘坐氢动力商用飞机,行业已经有了相对明确的时间表:空客计划在2035年将零排放商用飞机投入市场。美国FAA的认证路线图也表明,2030年前氢燃料电池有望在商用航空中得到应用。
未来我们能否坐上氢动力飞机,答案已不在技术本身,而在于全球产业链协同、政策支持与持续创新的合力。
氢能航空的跑道上,发动机或许已经启动。(陈奕煊)
免责声明:航化网出于分享有价值信息和促进知识传播的目的转载此文章。我们对文章内容和观点保持中立,不代表赞同其立场。内容仅供参考,不构成投资建议。我们尊重原创版权,已尽可能注明来源和作者。若您认为您的权益受到侵犯,请与我们联系,我们将立即更正或删除相关内容。
上一篇:神二十一今日出征,他一定看得见!
下一篇:现代鱼雷技术发展浅析
微信分享
复制链接
收藏
